Badmobil modul 420 2P - 129044
Beskrivelse
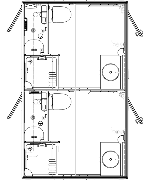
Dette badeværelsesmodul består af to separate rum, som hver er indrettet med toilet, bruser og håndvask. Indretningen har et flot og moderne udtryk med glasvask og lysbaldakin ved håndvasken, som skaber en indbydende atmosfære.
Modulet er konstrueret med fokus på mobilitet og kan let flyttes med truck, hvilket gør det velegnet til events.
Konstruktion
- Størrelse (uden trækstang)
- 4200 x 2500 mm (L x B)
- Indvendig højde
- 210 cm
- Chassis
- Galvaniseret stålramme
- Gulv
- IQ-optima vinyl forstærket med glasfiber og honeycomb
- Tag
- Helstøbt buet tag
- Personer
- 2 personer
Faciliteter
- Bad
- 2 brusekabiner
- Toiletter
- 2 vandskyllende toiletter
- Håndvask
- 2 glasvaske
- Installationer
- Elektrisk ventilation, Eltavle, 2 x håndtørrer
- Inventar
- 2 underskabe, 2 spejle, 2 toiletpapirholdere, 2 sæbehylder
- Vinduer
- 2 x 510 x 410 mm
El & VVS
- Toiletkværn / pumpe
- Nej
- Energi
- Ekstern tilslutning
- Strømtilslutning
- 400 V / 16 A CEE
- Varme
- EL-radiator
- Radiatorer
- 2 x 500 W
- Vandvarmer
- 2 elektriske 30 L
- Belysning
- Sort baldakin med hvid LED, Hvid diffust LED indvendig, Hvid diffust LED udvendig